Тел. +7(3852) 25-32-42 (факс)
Бесплатный телефон «горячей линии»:
8 (800) 700-62-28
Тел. +7(3852) 25-32-42 (факс)
Бесплатный телефон «горячей линии»:
8 (800) 700-62-28
Кюветы к анализаторам MIURA/MINDRAY/LABIO/ACCENT BS 120/200/300 КИТАЙ
Назад
Описание
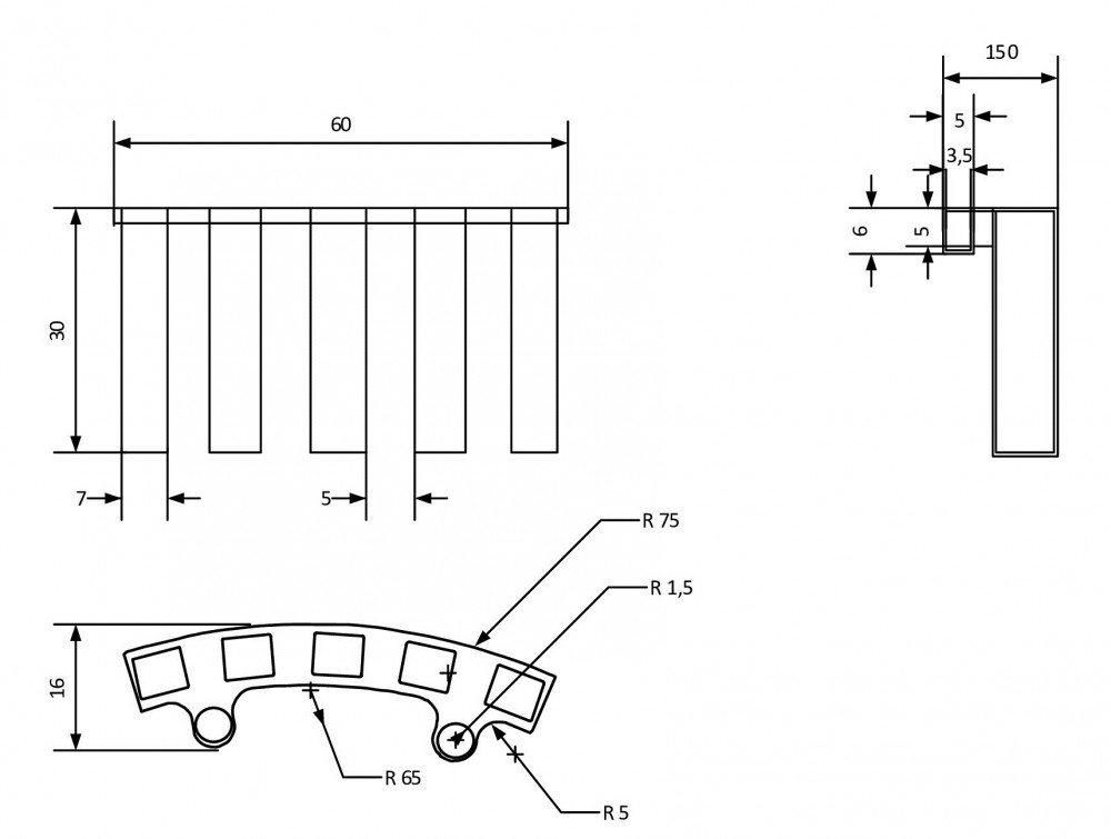
ACCENT/ BS 120
- Кювета пластиковая, выполненная в виде сегмента на 5 реакционных кювет
- Толщина пропускания светового луча 4 мм
- Длина 58 мм, высота 28 мм, ширина 6 мм
- С 2-мя цилиндрическими фиксаторами, расположенными между 1-2 и 4-5 ячейками. Длина фиксаторов 5 мм. Ширина 13 мм с фиксаторами
- Метод исполнения литье под давлением
- Размер ячейки 4 х 5 мм

ACCENT/ BS 200 /Miura
- Кювета пластиковая, выполненная в виде сегмента на 10 реакционных кювет
- Толщина пропускания светового луча 4 мм
- Длина 98 мм, высота 28 мм, ширина 8 мм. С 2-мя цилиндрическими фиксаторами, расположенными между 3-4 и 7-8 ячейками. Длина фиксаторов 5 мм. Ширина 14 мм с фиксаторами
- Метод исполнения литье под давлением
- Размер ячейки 4 х 5 мм

ACCENT/ BS 300
- Кювета пластиковая, выполненная в виде сегмента на 10 реакционных кювет
- Толщина пропускания светового луча 4 мм
- Длина 98 мм, высота 28 мм, ширина 6 мм. С 6-ью фиксаторами, расположенными параллельно 1-2 и 5-6, 9-10 ячейками. Длина фиксаторов 8 мм. Ширина 8 мм с фиксаторами, с ребрами жесткости по внешнему краю с толщиной 0.5 мм
- Метод исполнения литье под давлением
- Размер ячейки 4 х 5 мм

Производитель: Китай
РУ: РУ РЗН 2015/3384 от 07.12.2015 г
Характеристики
| Количество ячеек/сегментов в упаковке, шт | 1000 |
Вы недавно смотрели
Изотонический разбавитель (дилюент) (CellDiluentDiluit-HX), в канистрах (20 л)
Изотонический разбавитель (дилюент) (CellDiluentDiluit-HX), в канистрах (20 л)Цена по запросу
Производитель ООО "НЕОМЕДИКС", Россия
.png)

.png)

